浙江省2011年7月自考互換性與測量基礎試題
浙江省2011年7月高等教育自學考試$lesson$
互換性與測量基礎試題
課程代碼:01952
一、單項選擇題(本大題共10小題,每小題2分,共20分)
在每小題列出的四個備選項中只有一個是符合題目要求的,請將其代碼填寫在題后的括號內。錯選、多選或未選均無分。
1.具有互換性的零件應是( )
A.相同規格的零件 B.不同規格的零件
C.相互配合的零件 D.形狀和尺寸完全一樣零件
2.基本偏差確定公差帶的位置,一般情況下,基本偏差是( )
A.上偏差 B.下偏差
C.實際偏差 D.上偏差或下偏差中靠近零線的那個
3.最小極限尺寸減其基本尺寸所得的代數差為( )
A.上偏差 B.下偏差
C.基本偏差 D.實際偏差
4.確定尺寸精確程度的標準公差等級共有幾級( )
A.12 B.16轉自環 球 網 校edu24ol.com
C.18 D.20
5.刻度間距和分度值之間的關系是( )
A.分度值與刻度間距成正比
B.分度值與刻度間距成反比
C.分度值大小與刻度間距大小沒有直接關系
D.分度值大小與刻度間距大小有一定的關系
6.關于隨機誤差的特點,下列說法中錯誤的是( )
A.隨機誤差的大小和方向預先是無法知道的
B.隨機誤差完全符合統計學規律
C.隨機誤差大小和符號按一確定規律變化
D.隨機誤差的分布具有單峰性、對稱性、有界性和抵償性
7.零件上的被測要素可以是( )
A.理想要素和實際要素 B.理想要素和輪廓要素
C.輪廓要素和中心要素 D.中心要素和理想要素
8.同軸度公差和對稱度公差的相同之點是( )
A.確定公差帶位置的理論正確尺寸均為零
B.被測要素相同
C.基準要素相同
D.公差帶形狀相同
9.工作量規制造公差T和位置要素Z的數值( )
A.由被檢工件尺寸公差的大小確定 B.由被檢工件的基本尺寸確定
C.由被檢工件的公差等級確定 D.與被檢工件的基本尺寸和公差等級有關
10.選擇滾動軸承與軸頸、外殼孔的配合時,首先考慮的因素是( )
A.軸承的徑向游隙
B.軸承套圈相對于負載方向的運動狀態和承受負載大小
C.軸和外殼的材料和機構
D.軸承的工作溫度
二、填空題(本大題共10小題,每空1分,共20分)
請在每小題的空格中填上正確答案。錯填、不填均無分。
1.按互換的范圍,可分為______互換和______互換。
2.合理確定______與正確進行______是保證產品質量,實現互換性生產的兩個必不可少的條件和手段。
3.劃分量塊精度有兩種規定,按______劃分和按______劃分。
4.任何測量過程,由于受到______和______的影響,不可避免地會產生測量誤差。
5.分析處理系統誤差的關鍵,首先在于發現系統誤差,進而設法______或______系統誤差。
6.確定公差位置的兩個極限偏差稱為______,此偏差一般為靠近______的極限偏差。
7.形狀公差帶的實際方向由______決定,而位置公差帶的實際方向應與基準的______保持正確的方向關系。
8.獨立原則是指被測要素在圖樣上給出的______與______各自獨立,應分別滿足要求的公差原則。
9.尺寸鏈的環分為______環和______環。
10.齒距偏差直接反映齒輪的轉角誤差,是______和______的綜合結果。
三、判斷題(本大題共10小題,每小題1分,共10分)
判斷下列各題,正確的在題后括號內打“√”,錯的打“×”。
1.為了使零件的幾何參數具有互換性,必須把零件的加工誤差控制在給定的范圍內。( )
2.完全互換性適用于裝配精度要求較高的場合,而不完全互換性適用于裝配精度要求較低的場合。( )
3.零件的實際尺寸不一定是零件的真實尺寸。( )
4.某尺寸的上偏差不一定大于下偏差。( )
5.只要孔和軸裝配在一起,就必然形成配合。( )
6.基本偏差的絕對值一定比另一極限偏差的絕對值小。( )
7.精密測量的結果等于被測幾何量的真值。( )
8.由于隨機誤差產生的因素多具有偶然和不穩定性,因而在較高精度的測量中,只能將此誤差忽略不計。( )
9.用面的位置度公差,可以控制面的傾斜度誤差。( )
10.齒輪傳動的振動和噪聲是由于齒輪傳遞運動的不準確性引起的。( )
四、名詞解釋(本大題共4小題,每小題3分,共12分)
1.尺寸公差
2.過渡配合
3.隨機誤差
4.被測要素
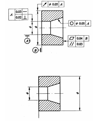
五、標注題(本大題10分)
將圖中錯誤的形位公差標注方法改正過來,重新標注(不允許改變形位公差項目及被測要素)。


最新資訊
- 自學考試《習概》2024年-2025年真題及答案解析匯總【免費領取】2025-11-17
- 自學考試《馬原》2022年-2025年真題及答案解析【免費領取】2025-11-17
- 2025年10月自考《英語二》完形補文+寫作真題及答案整理2025-10-30
- 備考重點!2025年10月自學考試全專業真題、答案解析合集匯總2025-10-30
- 同步更新!2025年10月自考《英語二》真題及答案匯總(完整版)2025-10-29
- 答案發布!2025年10月自考各專業真題已匯總2025-10-29
- 2025年10月自考《英語二》選擇、完形填空、寫作真題及答案更新!2025-10-28
- 更新!2025年10月自考《英語二》答案匯總2025-10-28
- 簡答題+論述題!2025年10月自考《毛概》真題答案速看2025-10-28
- 2025年10月自考本科對答案!公共課+專業課全科目真題及答案解析2025-10-28