2014年中央編譯局擬錄用機關公務員公示
更新時間:2014-04-11 11:16:28
來源:|0
瀏覽
收藏
國家公務員報名、考試、查分時間 免費短信提醒
摘要 2014年中央編譯局擬錄用機關公務員公示,公示期為7天(2014年4月11日至4月17日)。
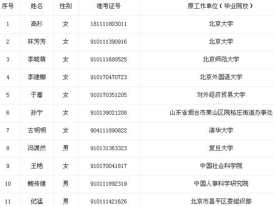
根據中組部、人力資源和社會保障部、國家公務員局《中央機關及其直屬機構2014年度考試錄用公務員工作實施方案》的要求,經筆試、面試、體檢、考察等工作程序,我局擬錄用高杉等11名同志為機關工作人員。
現將擬錄用人員名單予以公示,公示期為7天(2014年4月11日至4月17日)。公示期間,如有異議,請及時向中央編譯局人事部反映。
監督電話: 010-66509859、66509853。
傳 真:010-66171206。
中央編譯局2014年度擬錄用機關工作人員名單

中央編譯局人事部
2014年4月11日
復習備考: 公務員考試真題下載 公務員考試復習資料 公務員面試輔導
編輯推薦:
編輯推薦
最新資訊
- 2026年國考成績查詢時間:1月開啟查分通道,速看查詢指南2025-10-29
- 2026年國考成績查詢時間及入口匯總2025-10-27
- 2026國考成績一般什么時候出?成績查詢時間預測與備考提醒2025-10-08
- 教育部:2025年度考試錄用國考筆試成績入圍考生材料審核的通知2025-01-17
- 2025國考成績出來了,面試大戰一觸即發!考生需積極備戰,迎接挑戰2025-01-16
- 2025年國考成績揭曉:考生反應各異,三點鼓勵助你前行2025-01-16
- 2025國家公務員成績查詢全攻略:查詢時間、入口及面試準備一網打盡2025-01-15
- 2025國考成績公布后,該如何準備面試呢2025-01-15
- 2025國考成績查詢后指南:查詢方式與后續關注要點全解析2025-01-15
- 2025國考成績查詢入口1月14日正式開通:全面指南助你快速查詢2025-01-15