2013年安徽省亳州市考錄公務員擬錄用名單公示(第二批)
更新時間:2013-11-29 10:32:48
來源:|0
瀏覽
收藏
國家公務員報名、考試、查分時間 免費短信提醒
摘要 2013年安徽省亳州市考錄公務員擬錄用名單公示(第二批),公示時間自2013年11月27日至12月3日止。
課程推薦:2014年公務員課程7天免費學 :基礎精講 高效強化 高效押題 專項特訓
個性課程:2014年公務員個性輔導:申論批改 技巧專講 沖刺密卷 個性定制
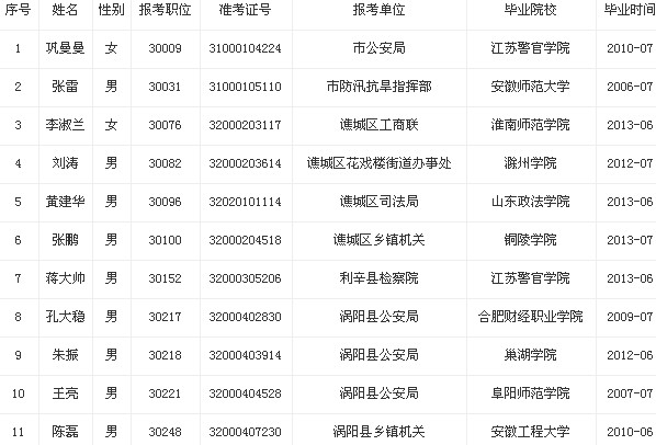
根據《亳州市2013年考試錄用公務員公告》精神,確定鞏曼曼等11名考生為第二批擬錄用人員,現予公示。公示時間自2013年11月27日至12月3日止,歡迎社會各界監督。公示期間舉報電話:0558-5555812(市紀委執法一室)、5991155(市第一紀檢組)、5132016(市人社局)。
公示結束后,屬公務員的到原工作單位辦理退出公務員隊伍的批準手續;屬事業單位工作人員的到原工作單位辦理解除聘用關系的批準手續,以便及時辦理入編手續。
特此公告。

亳州市人社局
2013年11月27日
復習備考:公務員面試模擬題
編輯推薦:
編輯推薦
最新資訊
- 2026年國考成績一般什么時候出:一鍵查分攻略與歷年時間規律2025-11-18
- 2026年國考成績查詢時間:1月開啟查分通道,速看查詢指南2025-10-29
- 2026年國考成績查詢時間及入口匯總2025-10-27
- 2026國考成績一般什么時候出?成績查詢時間預測與備考提醒2025-10-08
- 教育部:2025年度考試錄用國考筆試成績入圍考生材料審核的通知2025-01-17
- 2025國考成績出來了,面試大戰一觸即發!考生需積極備戰,迎接挑戰2025-01-16
- 2025年國考成績揭曉:考生反應各異,三點鼓勵助你前行2025-01-16
- 2025國家公務員成績查詢全攻略:查詢時間、入口及面試準備一網打盡2025-01-15
- 2025國考成績公布后,該如何準備面試呢2025-01-15
- 2025國考成績查詢后指南:查詢方式與后續關注要點全解析2025-01-15