2013年貴州省政法干警網上交費不足3:1職位(9月3日)
更新時間:2013-09-04 11:02:49
來源:|0
瀏覽
收藏
國家公務員報名、考試、查分時間 免費短信提醒
摘要 2013年貴州省政法干警網上交費不足3:1職位(9月3日)
課程推薦:2014年公務員課程7天免費學 :基礎精講 高效強化 高效押題 專項特訓
個性課程:2014年公務員個性輔導:申論批改 技巧專講 沖刺密卷 個性定制
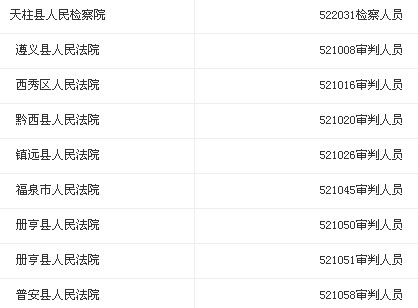
2013年貴州省政法干警網上交費不足3:1職位如下:


溫馨提示:請大家及時關注環球網校公務員頻道及論壇,小編將第一時間為大家提供公務員考試最新信息。
編輯推薦:
編輯推薦
最新資訊
- 2026國考時間定檔!公共科目11月30日開考,備考指南速看2025-11-17
- 2026國考筆試時間全攻略:行測申論考試日期及備考指南2025-11-17
- 2026國考考試時間全知道!附完整考試日程及備考規劃2025-11-17
- 2026國考考試時間官宣!申論考試時長及重要節點全解析2025-11-17
- 2026國考筆試時間11月29-30日:準考證打印與考試全攻略2025-11-12
- 2026國考筆試11月29-30日:準考證打印與考試全攻略2025-11-12
- 2026國考行測筆試全解析:時間、內容與備考策略2025-11-12
- 2026年國考考試時間全解析:筆試安排與備考指南2025-11-12
- 2026國考考試時間全解析:筆試安排與備考指南2025-11-12
- 2026年國考考試時間重磅公布:11月29-30日筆試!考前必看全攻略2025-11-06