2013年福建福州市水利局擬錄用公務員名單公示
更新時間:2013-08-01 09:41:08
來源:|0
瀏覽
收藏
國家公務員報名、考試、查分時間 免費短信提醒
摘要 2013年福建福州市水利局擬錄用公務員名單公示
課程推薦:2014年公務員課程7天免費學 :基礎精講 高效強化 高效押題 專項特訓
個性課程:2014年公務員個性輔導:申論批改 技巧專講 沖刺密卷 個性定制
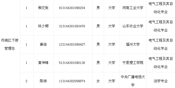
現將2013年度市水利局、市水政監察支隊、市閩江下游管理處擬錄用人員名單予以公示。公示時間為2013年7月31日至8月6日。公示期間歡迎群眾來電、來信、來訪反映情況。公示電話:0591-83335789;來信投遞:福州市公務員局考試錄用和職位管理處(郵政編碼350001);來訪來電時間:正常工作時間;接待處室:福州市公務員局考試錄用和職位管理處。


福州市公務員局
2013年7月31日
溫馨提示:請大家及時關注環球網校公務員頻道及論壇,小編將第一時間為大家提供公務員考試最新息。
編輯推薦:
編輯推薦
最新資訊
- 2026年國考成績查詢時間:1月開啟查分通道,速看查詢指南2025-10-29
- 2026年國考成績查詢時間及入口匯總2025-10-27
- 2026國考成績一般什么時候出?成績查詢時間預測與備考提醒2025-10-08
- 教育部:2025年度考試錄用國考筆試成績入圍考生材料審核的通知2025-01-17
- 2025國考成績出來了,面試大戰一觸即發!考生需積極備戰,迎接挑戰2025-01-16
- 2025年國考成績揭曉:考生反應各異,三點鼓勵助你前行2025-01-16
- 2025國家公務員成績查詢全攻略:查詢時間、入口及面試準備一網打盡2025-01-15
- 2025國考成績公布后,該如何準備面試呢2025-01-15
- 2025國考成績查詢后指南:查詢方式與后續關注要點全解析2025-01-15
- 2025國考成績查詢入口1月14日正式開通:全面指南助你快速查詢2025-01-15