2013年原鐵道部擬錄用人員公示
更新時間:2013-07-25 09:35:00
來源:|0
瀏覽
收藏
國家公務員報名、考試、查分時間 免費短信提醒
摘要 2013年原鐵道部擬錄用人員公示
課程推薦:2014年公務員課程7天免費學 :基礎精講 高效強化 高效押題 專項特訓
個性課程:2014年公務員個性輔導:申論批改 技巧專講 沖刺密卷 個性定制
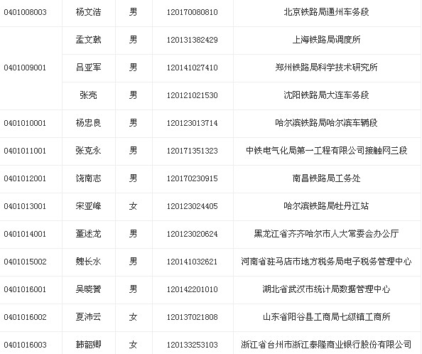
根據國家考試錄用公務員有關規定,綜合公共科目筆試、面試、體檢和考察等情況,經研究,擬錄用以下34人,現予公示。
公示期間,如對擬錄用人員有異議,請及時反映。
公示時間:2013年7月22日至7月28日,共7天。
公示電話:010-51842019、51842920



原鐵道部公務員招錄辦公室
2013年7月22日
溫馨提示:請大家及時關注環球網校公務員頻道及論壇,小編將第一時間為大家提供公務員考試最新息。
編輯推薦:
編輯推薦
最新資訊
- 2026年國考成績一般什么時候出:一鍵查分攻略與歷年時間規律2025-11-18
- 2026年國考成績查詢時間:1月開啟查分通道,速看查詢指南2025-10-29
- 2026年國考成績查詢時間及入口匯總2025-10-27
- 2026國考成績一般什么時候出?成績查詢時間預測與備考提醒2025-10-08
- 教育部:2025年度考試錄用國考筆試成績入圍考生材料審核的通知2025-01-17
- 2025國考成績出來了,面試大戰一觸即發!考生需積極備戰,迎接挑戰2025-01-16
- 2025年國考成績揭曉:考生反應各異,三點鼓勵助你前行2025-01-16
- 2025國家公務員成績查詢全攻略:查詢時間、入口及面試準備一網打盡2025-01-15
- 2025國考成績公布后,該如何準備面試呢2025-01-15
- 2025國考成績查詢后指南:查詢方式與后續關注要點全解析2025-01-15