2013年福建惠安縣衛生系統衛技人員面試成績公示
更新時間:2013-05-17 10:34:57
來源:|0
瀏覽
收藏
國家公務員報名、考試、查分時間 免費短信提醒
摘要 2013年福建惠安縣衛生系統衛技人員面試成績公示
熱點課程:413聯考【面試技巧】【模擬考場】 | 2014年事業單位考試直播公開課
課程推薦:2014年國家公務員考試基礎課程 | 行測、申論單科專項輔導
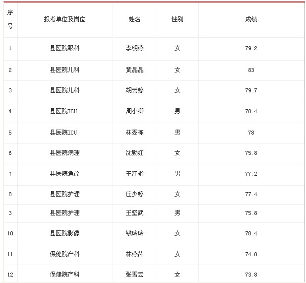
2013年惠安縣衛生系統赴醫學院校招聘衛技人員面試成績公示如下:


編輯推薦:
編輯推薦
最新資訊
- 2026年國考成績查詢時間:1月開啟查分通道,速看查詢指南2025-10-29
- 2026年國考成績查詢時間及入口匯總2025-10-27
- 2026國考成績一般什么時候出?成績查詢時間預測與備考提醒2025-10-08
- 教育部:2025年度考試錄用國考筆試成績入圍考生材料審核的通知2025-01-17
- 2025國考成績出來了,面試大戰一觸即發!考生需積極備戰,迎接挑戰2025-01-16
- 2025年國考成績揭曉:考生反應各異,三點鼓勵助你前行2025-01-16
- 2025國家公務員成績查詢全攻略:查詢時間、入口及面試準備一網打盡2025-01-15
- 2025國考成績公布后,該如何準備面試呢2025-01-15
- 2025國考成績查詢后指南:查詢方式與后續關注要點全解析2025-01-15
- 2025國考成績查詢入口1月14日正式開通:全面指南助你快速查詢2025-01-15