江西上饒2013年住房公積金管理中心筆試成績及面試公告
更新時間:2013-05-13 10:25:05
來源:|0
瀏覽
收藏
國家公務員報名、考試、查分時間 免費短信提醒
摘要 2013年江西上饒住房公積金管理中心筆試成績及面試公告
重點推薦:2013年江西省公務員面試課程 3天速成 在線咨詢 2014年事業單位考試直播公開課
2013年江西上饒住房公積金管理中心筆試成績及面試相關事項如下:
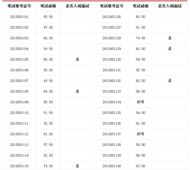
一、筆試成績及入闈面試人員


二、面試有關事項
面試時間:2013年5月12日9:00
面試候考地點:上饒市行政會議中心第三會議室
上饒市住房公積金管理中心
二?一三年五月十一日
編輯推薦:
編輯推薦
最新資訊
- 2026年國考一般多久出成績?官方公布1月查分,這些時間點需牢記2025-11-19
- 2026年國考筆試成績幾月份出來?預計1月可查分,速看歷年分數線與查分指南2025-11-19
- 2026年國考筆試面試成績比例全解析:7:3還是5:5?關鍵數據助你精準備考2025-11-19
- 2026年國考后多久出成績?預計1月公布成績,速看查分流程與分數線預測2025-11-19
- 2026年國考成績一般什么時候出:一鍵查分攻略與歷年時間規律2025-11-18
- 2026年國考成績查詢時間:1月開啟查分通道,速看查詢指南2025-10-29
- 2026年國考成績查詢時間及入口匯總2025-10-27
- 2026國考成績一般什么時候出?成績查詢時間預測與備考提醒2025-10-08
- 教育部:2025年度考試錄用國考筆試成績入圍考生材料審核的通知2025-01-17
- 2025國考成績出來了,面試大戰一觸即發!考生需積極備戰,迎接挑戰2025-01-16