2013年國家公務員面試公告:福建省氣象局
2013年國家公務員面試公告:福建省氣象局
根據國家公務員局關于中央機關2013年考試錄用公務員工作的有關規定,現將我局公務員錄用面試的有關事項通知如下:
一、面試職位及分數線

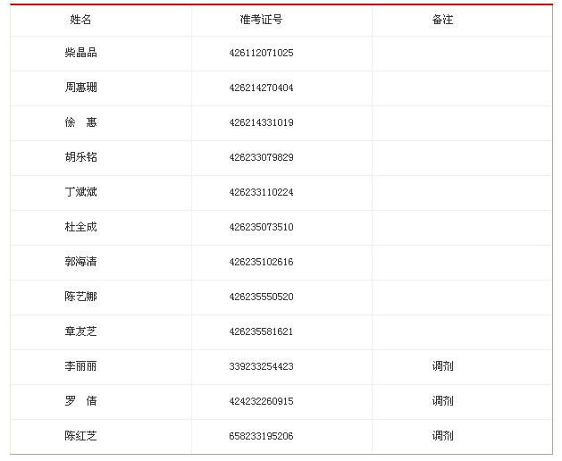
二、進入面試人員名單

三、面試確認
請上述考生于2月23日17:00前將本人有關情況通過E-mail發送到rensc0816@163.com,標題格式為:“準考證號+姓名+確認參加面試”;內容中請填寫以下信息:身份證號、準考證號、筆試成績、報考職位、學歷、學位、畢業院校及專業、基層工作經歷及年限、目前所在學?;騿挝?包括職務)、聯系電話(手機、固定電話)等,以及本人需要說明的其他問題。
屆時如未確認的,以自動放棄處理,不再進入面試程序。
四、面試日期、地點及要求
1.面試時間:2月27日,上午9:00開始,請考生8點30分前到面試地點報到,進行考生資格復查。截止當天上午8:50沒有進入候考室的考生,取消面試資格。
2.面試地點:福建省氣候中心會議室
報到地點:福建省氣候中心一樓大廳
地址:福建省福州市烏山路108號
交通路線:乘坐27、105、109、86、K3、106、16路公交車到烏山路下。
3.報到所需材料:
應屆畢業生提交下列證件和材料:(1)本人身份證、學生證、準考證、所在學校蓋章的報名推薦表、貼照考生報名登記表;(2)近期免冠1寸彩色照片3張。
社會在職人員須提交下列證件和材料:(1)本人身份證、工作證、準考證、貼照考生報名登記表;(2)學歷學位證書;(3)近期免冠1寸彩色照片3張;(4)所在單位出具的同意報考證明。
上述材料均需要原件,除報名登記表、報名推薦表和單位同意報考證明以外,還需復印件各一份。
4.考生應對個人提供材料的真實性負責。凡不符合報考資格條件或者有關材料的主要信息不實的,將取消面試資格。
5.面試考生不得攜帶通訊設備進入候考地點和考場,已攜帶的交由工作人員統一保管。
五、體檢和考察人選產生的原則和辦法
1.體檢人選產生的原則和辦法:根據參加體檢人數與錄用計劃數為2:1的比例,按最終綜合成績(筆試、面試成績各占50%)從高到低確定進入體檢程序人員(如果某職位參加面試人數少于錄用計劃2倍時,考生面試成績應達到70分,方可進入體檢)。
2.考察人選產生的原則和辦法:在體檢合格的人員中,根據進入考察程序人數與錄用計劃數為1:1的比例,按最終綜合成績從高到低確定進入考察程序人員。
六、體檢安排
體檢時間:2013年2月28日
體檢注意事項:請參加體檢的考生空腹于2月28日上午8:30在福建省氣象局大門口集中,統一前往體檢醫院。體檢時需攜帶身份證原件,對于在體檢過程中,弄虛作假或者隱瞞真實情況致使體檢結果失真的體檢者,不予錄用或取消錄用。
七、聯系方式
聯系人:袁倩茜
聯系電話:0591-87111390、13860601102
福建省氣象局
二?一三年二月二十日
最新資訊
- 2026國家公務員考試網前瞻:考綱改革、崗位趨勢與高效上岸攻略2025-04-17
- 喜訊!2021年自然資源部國考面試名單新鮮出爐2021-04-15
- 2021自然資源部國考面試公告2021-04-15
- 2022年度國家公務員職位預測2021-03-19
- 2022年度國考職位預測_國家公務員考試2021-03-19
- 2022年國家公務員考試哪一類人可以報名2021-03-19
- 2022年國家公務員考試有哪些報考條件2021-03-19
- 11月27日到28日開展2022年國考筆試工作2021-03-19
- 2022年度國考筆試時間11月27日-28日_國家公務員網2021-03-19
- 定了!2022年度國考11月27-28日進行筆試2021-03-19